坚持品质初心
产品介绍
公司产品众多,常备产品有直径1.8cm、2.5cm、3.0cm、3.5cm、4.0cm、5.0cm、6.0cm、7.0cm、8.0cm雷火灸等多种直径1至5年陈艾条,其他直径艾条艾柱均可定制。亦有日化类产品如足浴包、艾灸贴、艾草精油、眼贴、各类灸具等产品。

艾绒
规格:500g
年份:一年陈至五年陈
磨绒遍数:磨绒一遍、两遍、四遍(磨绒遍数越多艾绒越细腻,燃烧时烟越小,实际艾灸效果跟磨绒遍数关系不大。)
包装:密封袋包装
作用:可用于麦粒灸、隔物灸、火龙灸、定制灸具使用。
价格:根据年份、磨绒遍数而定

艾条
规格:1.8X20cm、2.5X20cm、3.0X20cm、4.0X20cm、5.0X20cm、6.0X20cm、7.0X20cm、8.0X20cm(其他直径可定制)
年份:一年陈至五年陈(年份越久越好,年份短的艾条使用比较燥热,一般适用于急症人员,储存时间久的艾灸感温和,渗透感足,是艾灸养生的优质选择。)
磨绒遍数:磨绒一遍、两遍、四遍(磨绒遍数越多艾绒越细腻,燃烧时烟越小,实际艾灸效果跟磨绒遍数关系不大。)
包装:散装、盒装(散装用密封袋根据拿货数量进行包装。盒装为1盒10支。)
卷制:艾叶纸、桑皮纸、白棉纸、黄棉纸
价格:根据年份、磨绒遍数、卷纸包装而定

雷火灸
规格:5.0X20cm、6.0X20cm、7.0X20cm、8.0X20cm
年份:一年陈至五年陈(年份越久越好,年份短的艾条使用比较燥热,一般适用于急症人员,储存时间久的艾灸感温和,渗透感足,是艾灸养生的优质选择。)
磨绒遍数:磨绒一遍、两遍、四遍(磨绒遍数越多艾绒越细腻,燃烧时烟越小,实际艾灸效果跟磨绒遍数关系不大。)
包装:带灭火筒包装
卷制:艾叶纸、桑皮纸、白棉纸、黄棉纸
价格:根据年份、磨绒遍数、卷纸包装而定

石磨艾
规格:5.0X20cm、6.0X20cm、7.0X20cm、8.0X20cm
年份:一年陈至五年陈(年份越久越好,年份短的艾条使用比较燥热,一般适用于急症人员,储存时间久的艾灸感温和,渗透感足,是艾灸养生的优质选择。)
工艺:用石磨冷磨制作而成。(制作成本高,产量低。)
包装:密封袋包装
卷制:桑皮纸、艾叶纸
价格:根据年份、卷纸包装而定

艾叶
规格:500g
年份:当年新鲜艾叶(不出售陈年艾叶)
包装:密封袋包装
作用:可用于储存后自己制作艾条,熬煮后泡脚、泡澡、婴儿洗黄疸等。
价格:根据当年收购价格而定

艾柱
规格:1.8X2.7cm、3.0X3.0cm、4.0X3.0cm(其他直径可定制)
年份:一年陈至五年陈(年份越久越好,年份短的艾柱使用比较燥热,一般适用于急症人员,储存时间久的艾灸感温和,渗透感足,是艾灸养生的优质选择。)
磨绒遍数:磨绒一遍、两遍、四遍(磨绒遍数越多艾绒越细腻,燃烧时烟越小,实际艾灸效果跟磨绒遍数关系不大。)
包装:散装、盒装(散装用密封袋包装。盒装为1盒54粒。)
卷制:艾叶纸、桑皮纸、白棉纸、黄棉纸
价格:根据年份、磨绒遍数、卷纸包装而定

艾草足浴包
规格:20包X30g、30包X30g
作用:用于足浴泡脚、婴儿洗黄疸、儿童泡澡、老人足浴。
零售价:49元/袋

艾灸贴
规格:1盒5贴、1盒10贴(每贴包含一瓶艾草单方精油)
作用:可用于关节疼痛、风湿关节炎、缓解肌肉疲劳、暖宫、腰痛等。
时间:每贴可持续发热8-10小时。
零售价:80元/盒

艾草单方精油
规格:10ml(单方精油)
作用:用于艾灸开穴、按摩推拿等,需要稀释。
零售价:120元/瓶

艾草精油香皂
规格:100g/块
类别:艾草精油香皂、蛇胆精油香皂
作用:洗手、洗脸、洗澡。
零售价:39元/块

蛇胆艾草精油香皂
规格:100g/块
类别:艾草精油香皂、蛇胆精油香皂
作用:洗手、洗脸、洗澡。
零售价:49元/块
各类艾条展示






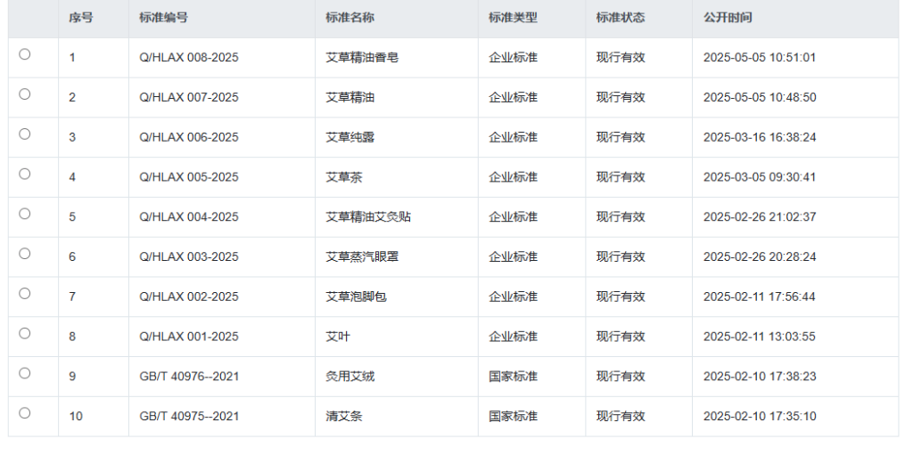
产品报告






售后说明
所有艾草产品所标记年份的实际储存时间为《所标记年份+340天》(例:一年陈艾实际储存年份为365天+340天)
产品价格有效期为一年,每年4月20左右更新,所有批发产品不含运费不包税。
